Products
Products


Home > Products > Pneumatic Cylinders > Standard Pneumatic Cylinder
SI Series Standard Cylinder(ISO6431)
  • SI Series Standard Cylinder(ISO6431)
  • SI Series Standard Cylinder(ISO6431)

SI Series Standard Cylinder(ISO6431)

Working Medium

Air

Motion Pattern

Double Action

Working-Pressure

0.1~0.9MPa

Buffer Type

Adjustable Buffer                       

Operating Temperature

-5~70℃

Ensured Pressure Resistance

1.35MPa



Consult Immediately

Ordering Code

                       

Specification

Bore(mm)

32

40

50

63

80

100

125

160

200

Motion Pattern

Double Action

Working Medium

Air

Fixed Type

Normal type FA/Type FB/Type CA/Type CB/Type SDB/Type LB/Type TC/Type

Working Pressure Range

0.1~0.9MPa

Ensured Pressure Resistance

1.35MPa

Operating Temperature Range

-5~70℃

Operating Speed Range

50~800mm/s

Buffer Type

Adjustable Buffer

Buffer Stroke

24

32

Port Size

G1/8"

G1/4"

G3/8"

G1/2"

G3/4"

Overall Dimensions

Bore/Symbol

A

A1

A2

B

C

D

E

F

G

H

I

J

K

L

32

142

190

185

48

94

30

32

16

27.5

22

17

6

M10×1.25

M6

40

159

213

205

54

105

35

36

18

29

24

19

7

M12×1.25

M6

50

175

244

231

70

105

40

45

25

30

32

24

8

M16×1.5

M8

63

190

259

245

70

120

45

46

24

3

32

24

8

M16×1.5

M8

80

214

300

283

86

128

45

56

30

35

40

30

10

M20×1.5

M10

100

229

320

298

89

138

55

57

32

36

40

30

10

M20×1.5

M10

125

279

398

368

118

160

60

73

45

46

54

41

10

M27×2

M12

160

332

484

448

152

180

65

94

58

50

72

55

18

M36×2

M16

200

337

494

452

157

180

75

100

51

51

72

55

18

M36×2

M16


Bore/Symbol

N

O

P

Q

R

S

T

V

W

Z

32

13.5

G1/8"

4

7.5

7

47

32.5

12

10

21

40

16

G1/4"

6

8.5

9

53

38

16

13

21

50

15.5

G1/4"

8.5

7.5

7.5

65

46.5

20

17

23

63

16.5

G3/8"

7.5

8.5

9

75

56.5

20

17

23

80

16.5

G3/8"

11

8.5

13.5

95

72

25

22

29

100

18.5

G1/2"

13.5

9.5

14.5

115

89

25

22

29

125

23

G1/2"

14

12

14

140

110

32

28

35

160

25

G3/4"

15

12

20

180

140

40

36

40

200

25

G3/4

15

12

20

220

175

40

36

40



Other info

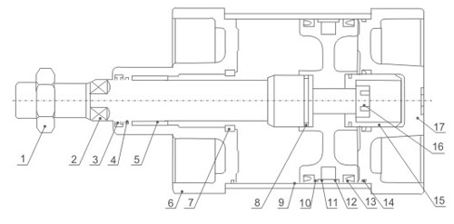
NO. Designation 1 Piston Rod Nut 2 Piston Rod 3 Front Cover Seal ring 4 O-Ring 5 Bearing 6 Wear Ring 7 Buffering O-Ring 8 Pistion rod O-Ring 9 Barrel
NO. Designation 10 Piston 11 Wearing 12 Magnet(Optional) 13 Piston O-Ring 14 Pipe wall O-Ring 15 Damping 16 Hex Socket Screw 17 Back Over


Cylinder inside Diameter

Extern      Diameter      of Piston Rod

Mation Patterm

Compression
Area(cm2)

Air Pressure(kgf/cm2)

1

2

3

4

5

6

7

8

9

32

12

Double Action

Press Side

8.04

8.04

16.08

24.12

32.16

40.20

48.24

56.28

64.32

72.36

Pull Side

6.90

6.90

13.80

20.07

27.60

34.50

41.40

48.30

55.20

62.10

40

16

Double Action

Press Side

12.56

12.56

25.12

37.68

50.24

62.80

75.36

87.92

100.24

113.04

Pull Side

10.55

10.55

21.10

31.65

42.20

52.75

63.30

73.85

84.40

94.95

50

20

Double Action

Press Side

19.63

19.63

39.26

58.89

78.52

98.15

117.78

137.41

157.04

176.67

Pull Side

16.49

16.49

32.98

49.47

65.96

82.45

98.94

115.43

139.92

148.41

63

20

Double Action

Press Side

31.17

31.17

62.34

93.51

124.68

155.85

187.02

218.19

249.36

280.53

Pull Side

28.03

28.03

56.06

84.09

112.12

140.15

168.18

196.21

224.24

252.27

80

25

Double Action

Press Side

50.26

50.26

100.52

150.78

201.04

251.30

301.56

351.82

402.08

452.34

Pull Side

45.36

45.36

90.72

136.08

181.44

226.80

272.16

317.52

326.88

408.24

100

25

Double Action

Press Side

78.53

78.53

157.06

235.59

314.12

392.65

471.18

428.82

628.24

706.77

Pull Side

71.47

71.47

142.94

214.41

285.88

357.35

428.82

500.29

517.76

643.43

125

32

Double Action

Press Side

122.72

122.72

245.44

368.16

490.88

613.60

736.32

859.04

981.76

1104.48

Pull Side

114.68

114.68

229.36

344.04

458.72

573.40

688.08

802.76

917.44

1032.12

160

40

Double Action

Press Side

201.06

201.06

402.12

603.18

804.24

1005.30

1206.36

1407.42

1608.48

1809.54

Pull Side

188.49

188.49

376.98

565.47

753.96

942.45

1130.94

1319.43

1507.92

1696.41

200

40

Double Action

Press Side

314.16

314.16

628.32

942.48

1256.64

1570.80

1884.96

2199.12

2513.28

2827.44

Pull Side

301.57

301.57

603.14

904.71

1206.28

1507.80

1809.42

2100.99

2412.56

2714.13


Bore(mm)

Standard    Stroke

Max.Stroke

Permissible    Stroke

32

25 50  75 80 100 125 160 175 200 250 300  350 400 450 500

1000

2000

40

25 50  75 80 100 125 160 175  200 250 300 350 400 450 500  600 700 800

1200

2000

50

25 50  75 80 100 125 160 175  200 250 300 350 400 450 500  600 700 800 900 1000

1200

2000

63

25 50  75 80 100 125 160 175  200 250 300 350 400 450 500  600 700 800 900 1000

1500

2000

80

25 50  75 80 100 125 160 175  200 250 300 350 400 450 500  600 700 800 900 1000

1500

2000

100

25 50  75 80 100 125 160 175  200 250 300 350 400 450 500  600 700 800 900 1000

1500

2000

125

25 50  75 80 100 125 160 175  200 250 300 350 400 450 500  600 700 800 900 1000

1500

2000

160

25 50  75 80 100 125 160 175  200 250 300 350 400 450 500  600 700 800 900 1000

1500

2000

200

25 50  75 80 100 125 160 175  200 250 300 350 400 450 500  600 700 800 900 1000

1500

2000

Inquiry

If you have any comments and suggestions to our company, please leave a message here.

Your message will give me a great help, we will reply as soon as possible. Sincerely thank you for your attention and support!

Products RecommendedMore popular products+
DNC Series Standard Cylinder(ISO15552)

DNC Series Standard Cylinder(ISO15552)

DNC Series Standard Cylinder(ISO15552)

SI Series Standard Cylinder(ISO6431)

SI Series Standard Cylinder(ISO6431)

SI Series Standard Cylinder(ISO6431)

DNG Series Standard Cylinder(ISO15552)

DNG Series Standard Cylinder(ISO15552)

DNG Series Standard Cylinder(ISO15552)

SC/SU Series Standard Cylinder

SC/SU Series Standard Cylinder

SC/SU Series Standard Cylinder

Access exclusive offers, news, and more.

Products
Pneumatic Cylinders Air Source Treatment Units Directional Valves Fluid Solenoid Valve Pneumatic Accessories
QUIK LINKS
About Us Products News Contact Us
CONTACT US

Autoair Pneumatic CO., LTD

Add: 218 WEI18 ROAD,YUEIQNG ECONOMIC DEVELOPMENT ZONE,YUEQING CITY,WENZHOU CITY,ZHEJIANG PROVINCE,CHINA

Tel: 0086-13336999667
Email: Picasso@wincoair.com/Picasso@188.com

Copyright © 2023 Autoair Pneumatic CO., LTD All Rights Reserved. Sitemap Support:Ksion