Products
Products


Home > Products > Fluid Solenoid Valve > 2 Way Steam Solenoid Valve
2L(US) Series 2/2 Way Solenoid Valve
  • 2L(US) Series 2/2 Way Solenoid Valve
  • 2L(US) Series 2/2 Way Solenoid Valve
  • 2L(US) Series 2/2 Way Solenoid Valve
  • 2L(US) Series 2/2 Way Solenoid Valve
  • 2L(US) Series 2/2 Way Solenoid Valve
  • 2L(US) Series 2/2 Way Solenoid Valve

2L(US) Series 2/2 Way Solenoid Valve

Working Medium

Air Water Steam

Motion Pattern

Guide Type

Type

Normal Close Type

Operation Fluid Viscosity

20CST(Below)

Working-Pressure

Air Water Steam:0.1~1.5MPa

Max Pressure Resistance

2.25MPa




Consult Immediately

Ordering Code

                       

Specification

Model 2L170-10 2L170-15 2L170-20 2L200-25 2L300-35 2L300-40 2L500-50
Working Medium Air Water Steam
Motion Pattern Guide Type
Type Normal Close Type
Aperture Of Flow Rate(mm) 17 22 30 50
CV Value 4.8 12 20 48
Port Size G3/8" G1/2" G3/4" G1" G11/4" G11/2" G2"
Operation Fluid Viscosity 20 CST(Below)
Working-pressure Air Water Steam:0.1~1.5MPa
Max Pressure Resistance 2.25 MPa
Operating Temperature Range ‐5~+180℃
Voltage Range ±10%
Material Of Body Brass
MaterialI Of Oil Seal PTFE

Overall Dimensions


Model A B C D K
2L170-10 125 38 146 76 G3/8"
2L170-15 125 42 146 81 G1/2"
2L170-20 125 47 146 84 G3/4"
2L200-25 136 54 162 91.5 G1"
2L300-35 148 76 185 111 G11/4"
2L300-40 148 76 185 111 G11/2"
2L500-50 176 88 223 164 G2"


Other info


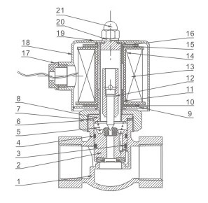
NO Name
1 Body Of Value
2 Assembly Of Piston
3 Springiness Spacer
4 Wear Strip
5 Spring
6 Nut
7 O-ring
8 Assembly OfIron Core
9 Magnetic Plate
10 Gasket
11 Bush
12 Assembly OfIron Core
13 Assembly Of Coil
14 Bush
15 Gasket
16 Magnetic Plate
17 Cord-locks
18 Iron Cover
19 Name Plate
20 Gasket
21 Head Cover Nut


Inquiry

If you have any comments and suggestions to our company, please leave a message here.

Your message will give me a great help, we will reply as soon as possible. Sincerely thank you for your attention and support!

Products RecommendedMore popular products+
2L(US) Series 2/2 Way Solenoid Valve

2L(US) Series 2/2 Way Solenoid Valve

2L(US) Series 2/2 Way Solenoid Valve

Access exclusive offers, news, and more.

Products
Pneumatic Cylinders Air Source Treatment Units Directional Valves Fluid Solenoid Valve Pneumatic Accessories
QUIK LINKS
About Us Products News Contact Us
CONTACT US

Autoair Pneumatic CO., LTD

Add: 218 WEI18 ROAD,YUEIQNG ECONOMIC DEVELOPMENT ZONE,YUEQING CITY,WENZHOU CITY,ZHEJIANG PROVINCE,CHINA

Tel: 0086-13336999667
Email: Picasso@wincoair.com/Picasso@188.com

Copyright © 2023 Autoair Pneumatic CO., LTD All Rights Reserved. Sitemap Support:Ksion